51° 11′ 37.90″ N, 7° 15′ 33.79″ E
Im Jahr 1895 entdeckte Wilhelm Conrad Röntgen eine Strahlung, die wir heute als Röntgenstrahlung kennen. Sechs Jahre später brachte ihm diese Entdeckung den ersten Nobelpreis für Physik ein. Dies lag zum Teil sicher darin begründet, dass Röntgenstrahlen fast umgehend in der Medizin eingesetzt wurden. Innerhalb von zwei Monaten nach seiner Entdeckung veröffentlichte Röntgen einen Aufsatz mit dem Titel »Über eine neue Art von Strahlen«, in dem er seinen Durchbruch beschrieb und darüber spekulierte, dass diese neuen Strahlen in ihrer Zusammensetzung möglicherweise dem Licht ähneln.
Röntgen nutzte eine mit Barium-Platinzyanid beschichtete Pappe zum Nachweis der Röntgenstrahlen. Unter dem Einfluss von Radium fluoresziert Barium-Platinzyanid. Diese Technik wurde schon von anderen Wissenschaftlern, etwa den Curies (siehe Kapitel 15), verwendet, um das Vorhandensein von Strahlung bei radioaktiven Substanzen nachzuweisen. Röntgen entdeckte, dass eine mit Barium-Platinzyanid beschichtete Pappe fluoreszierte, auch wenn Sie mehrere Meter von der Röntgenstrahlquelle entfernt war.
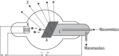
Seine Röntgenstrahlquelle war eine Crookessche Röhre, die der britische Physiker William Crookes 20 Jahre zuvor erfunden hatte. Crookes nutzte diese Röhre (die aus einem luftleeren Glasrohr und zwei Metallelektroden besteht) zur Erforschung der »Kathodenstrahlen« (die wir heute Elektronen nennen). Die beschleunigten Elektronen erzeugten ein grünes Leuchten, wenn Sie auf das Glas am Ende der Röhre trafen.
Röntgen packte die Crookessche Röhre in schwarze Pappe und verhinderte so ein Entweichen von Licht (auch Ultraviolett- und Infrarotlicht). So konnte er die Absorption der Röntgenstrahlung durch diverse Materialien wie Papier, Sperrholz, Kupfer, Blei, Gold, Silber und seine eigene Hand messen. Er bezog sogar seine Frau mit ein, indem er ein Röntgenbild ihrer Hand anfertigte, komplett mit Ring am Finger (Abbildung 21.1).
Röntgens Leben und Forschung und die Auswirkungen der Röntgenstrahlung auf die medizinische Wissenschaft bis zum heutigen Tag sind im Röntgen-Museum seiner Heimatstadt Remscheid dokumentiert. Im Museum sind die von Röntgen verwendeten Originalgerätschaften, inklusive einer Sammlung von Röntgenröhren, ausgestellt. Auch die Nobelpreis-Medaille können Sie hier bewundern.
Das Museum ist nicht nur der Vergangenheit gewidmet. Es gibt eine Sammlung moderner Röntgenstrahl-Geräte, die die Entwicklung der Röntgenstrahltechnik zu medizinischen Zwecken veranschaulichen. Einige der Ausstellungsstücke sind recht groß. Trotz des beschränkten Raums umfasst die Sammlung auch Allzweck-Röntgengeräte und portable Röntgengeräte. Es gibt dentale Röntgengeräte und Geräte für die Mammografie. Das Museum besitzt auch CAT-Scanner, die eine Röntgenstrahlröhre um einen Teil des Körpers des Patienten bewegen, und Bilder eines Teils der Körpers erzeugen.
Röntgenstrahlen werden aber nicht nur in der Medizin, sondern auch in anderen wichtigen Anwendungsbereichen eingesetzt. Daher ist auch ihr Einsatz in der Röntgen-Kristallografie (die genutzt wurde, um die Form der DNA zu enträtseln, siehe Replikation), beim zerstörungsfreien Testen von Geräten, beim Screening von Personen und Gepäck im Rahmen von Sicherheitsmaßnahmen und bei der Untersuchung von Kunstwerken im Röntgen-Museum dokumentiert.
Details zum Museum finden Sie unter http://www.roentgen-museum.de/. Remscheid liegt etwa 40 Fahrminuten von Düsseldorf entfernt.





